作者 | 北灣南巷
出品 | 汽車電子與軟件
電子機械制動系統(EMB)是一種現代車輛制動技術,它結合了電動驅動和機械制動的優勢,以實現高效、精確和靈敏的制動性能。EMB系統主要由電機、減速器、夾緊裝置、卡鉗和控制器等組成。
華為在電子機械制動(EMB)領域的進展顯著,正積極推動該技術的商業化和量產。2024年4月,華為發布了DriveONE純電智動(EMB方案),并與江淮汽車在EMB領域展開深度合作。這一方案通過驅動和制動系統的融合控制,旨在大幅縮短剎車距離和高速避障距離,提供更安全、更舒適的駕乘體驗。
華為的EMB技術以控制安全、執行安全、通訊安全為核心,具備高密高效電機驅動和快速響應的能力,扭矩響應速度可低至100ms。此外,華為的PSiP技術能夠支撐輪端總成的精細化控制和分布式控制,軟件能力上,分布式ABS算法和自適應尋優算法進一步提升了減速效率和標定效率。
在專利方面,華為也在積極布局,這表明華為在EMB領域的技術創新和專利申請上都有所行動。
華為的這些進展表明,它正努力在EMB技術上實現突破,并可能在未來的汽車制動系統中發揮重要作用。隨著技術的發展和合作伙伴的加入,華為有望在EMB領域取得更多成果。
#01 電機關鍵技術
電子機械制動(EMB)這項技術將傳統的液壓制動方式轉變為由電機直接提供動力,實現了制動系統的電子化和精準化。
1.1 電機
EMB系統中的電機是整個系統的驅動核心,其作用是通過電動信號將能量轉化為機械力,驅動制動器工作。電機的運行通過定子和轉子的相互作用來實現,具體如下:
定子(Stator):
- 定子是電機中的靜止部分,通常由線圈和鐵芯組成。在線圈中通入電流后,定子產生旋轉磁場,驅動轉子進行旋轉。
- 在EMB系統中,定子起到了提供電磁力的作用,控制轉子的旋轉方向和速度,以驅動制動器執行精確的制動動作。
轉子(Rotor):
- 轉子是電機中旋轉的部分,它受到定子的電磁場作用而旋轉。轉子的旋轉最終通過減速器傳遞給其他機械部件,帶動制動操作。
- 在EMB中,轉子的運動直接決定了夾緊裝置的動作,從而控制摩擦片對制動盤的壓力。
1.2 電機控制
工作原理:通過控制電機定子的電流,精確調節電機的轉速和轉向,以達到對制動器的精準控制。
控制方式:通常采用閉環控制方式,即通過傳感器監測電機的實時轉速和位置,并根據預設值實時調整控制信號,確保制動力度的準確性。
響應速度:電機控制的核心是快速響應。相比傳統液壓系統,電機能夠提供更快的響應速度,實現更靈敏的制動效果。
1.3 控制器
功能:控制器是整個EMB系統的大腦,負責接收駕駛員的制動指令,處理傳感器反饋數據,并實時調節電機的工作狀態。
組成:控制器通常包括一個微控制單元(MCU),用于處理控制算法,輸出控制信號給電機驅動器。同時,控制器還監測來自壓力傳感器、位置傳感器等的數據,以確保制動器工作狀態的實時調整。
電子控制模塊(ECU):這一模塊會對電機的工作電流、電壓和轉速進行控制,通過精確的電流控制,保證電機的動力輸出與車輛的制動需求匹配。
#02 機械關鍵技術
2.1 減速器
功能:減速器的作用是將電機的高速旋轉運動轉化為低速、高扭矩的旋轉運動。電機的輸出通常是高轉速、低扭矩,而制動系統需要高扭矩才能產生足夠的摩擦力,因此減速器在這里起到至關重要的作用。
設計:通常使用行星齒輪或平行軸齒輪來實現減速。行星齒輪減速器體積小,適合嵌入式設計,有助于減小EMB系統的總體積。
傳動效率:減速器的傳動比直接決定了摩擦片的夾緊速度和夾緊力的精度,是EMB中關鍵的能量轉換環節。
2.2 夾緊裝置
功能:夾緊裝置的作用是將電機的旋轉運動轉化為摩擦片的直線運動。通過這個裝置,摩擦片被推向制動盤,產生摩擦力以實現制動。
形式:最常見的設計是使用滾珠絲杠,即通過螺旋形的絲杠結構將旋轉運動轉化為直線推動力。關鍵點:夾緊裝置的精度直接影響制動力的大小,以及制動系統的響應速度和穩定性。高精度的絲杠裝置能夠保證摩擦片均勻受力,并在制動時保持穩定。
2.3 卡鉗本體
功能:卡鉗本體是制動系統中支撐和固定摩擦片、夾緊裝置等部件的結構部分。它直接承載制動力,并通過其機械結構確保摩擦片與制動盤的有效接觸。
設計:卡鉗通常采用高強度材料,如鋁合金或鋼材,以確保在高應力狀態下具有足夠的剛性和強度,同時具備耐高溫性能。結構:卡鉗的U形設計通常能夠夾住制動盤,使摩擦片在制動時能夠對制動盤施加足夠的摩擦力。卡鉗通過導向銷與其他部件配合,使其能夠在滑軌上平穩移動。
2.4 駐車機構
功能:駐車機構用于在車輛靜止時保持制動狀態,防止車輛滑動。它通過電機或機械自鎖機制保持摩擦片與制動盤的夾緊狀態。
工作原理:駐車機構可以由電子控制的單向軸承或自鎖裝置組成。當車輛處于停車狀態時,電機會激活駐車制動,將摩擦片固定在制動盤上,防止車輛移動。自動與手動模式:現代的EMB系統通常集成電子駐車功能,能夠根據車輛狀況自動激活或釋放駐車制動。同時,部分系統還保留了手動控制駐車功能,確保在電子系統失效時仍能手動駐車。
EMB系統通過電機驅動代替傳統液壓制動,實現了更高的控制精度和響應速度。電機系統由定子、轉子和控制器構成,利用高精度的閉環控制方式,實現快速、穩定的制動控制。機械部分則通過減速器將高速旋轉轉換為高扭矩,推動夾緊裝置與摩擦片,實現對制動盤的夾緊。同時,駐車機構通過單向軸承或機械鎖定功能,確保停車時的安全性。
#03 華為在EMB方面的進展
在全球汽車行業不斷向電動化和智能化轉型的背景下,電子機械制動系統(EMB)作為一種創新的制動技術,正逐漸成為現代車輛的重要組成部分。EMB系統結合了電動驅動與機械控制的優勢,以其更快的響應速度、更高的制動精度以及更小的體積,成為替代傳統液壓制動系統的理想選擇。這一技術不僅提升了車輛的安全性和操控性,還為未來自動駕駛和智能交通系統的實現奠定了基礎。
接下來的專利解析將詳細闡述相關各項的技術特征,包括電機驅動機制、機械結構設計、冗余控制方案等。通過對這些創新要素的分析,我們將展示EMB在提升制動效率、降低能耗和實現智能化控制方面的巨大潛力,為汽車行業的未來發展提供新的思路和解決方案。
3.1 電子機械制動裝置和車輛_小型化方案
根據文件CN202410391814中的發明內容,以下是詳細的解析與重點提取:
1. 發明背景與領域
- 該發明涉及電子機械制動裝置及其在車輛上的應用,屬于車輛制動技術領域。
- 電子機械制動裝置(EMB)的主要特點是通過電機驅動摩擦片制動,具有結構簡單、傳遞效率高、無需液壓管路、小型化發展等優勢,特別適用于現代車輛的輪邊制動系統。
2. 發明內容
- 關鍵創新點:該發明通過將電機軸的單向軸承沿徑向移動,從而縮短制動裝置的軸向尺寸,實現了系統的小型化,有助于適配輪邊狹窄的空間。
- 結構設計:裝置由多個關鍵組件組成,包括:- 制動電機:通過電機軸驅動摩擦片制動。
- 單向軸承:用于限制電機軸的反向旋轉,從而實現駐車功能。
- 軸承套和限位座:限制軸承套的旋轉和偏移,確保單向軸承在正確的徑向位置滑動。
- 驅動件:用于推動單向軸承在電機軸的兩段(直徑不同的兩段)之間滑動,實現摩擦片的接合或釋放。

3. 工作原理
- 摩擦片的制動過程:
當電機反轉時,絲杠帶動摩擦片離開制動盤,解除制動狀態。
駐車功能:通過單向軸承限制電機軸的反轉,實現駐車制動,確保車輛在駐車時摩擦片保持與制動盤的接觸。
4. 創新技術細節
- 單向軸承設計:軸承內的凹槽用于容納活動件,活動件在凹槽內滑動,以調整軸承的內徑大小,從而控制電機軸的旋轉或限制其反轉。
小型化設計:通過減小制動裝置的軸向尺寸,適配現代車輛對輪邊制動系統空間的需求。此設計不僅提高了安裝的便利性,還減少了整體結構的復雜性。
5. 車輛應用
- 集成設計:電子機械制動裝置直接集成在車輛輪轂或車架上,通過軸向滑動連接車架與摩擦片,實現高效制動。
6. 優勢與應用前景
- 高效節能:與傳統的液壓制動系統相比,電子機械制動裝置具有高效的能量利用率,且易于與現代智能控制系統集成。
該發明通過優化電機軸、單向軸承、絲杠等關鍵部件的設計,實現了制動系統的小型化與高效控制,具有很強的應用前景。
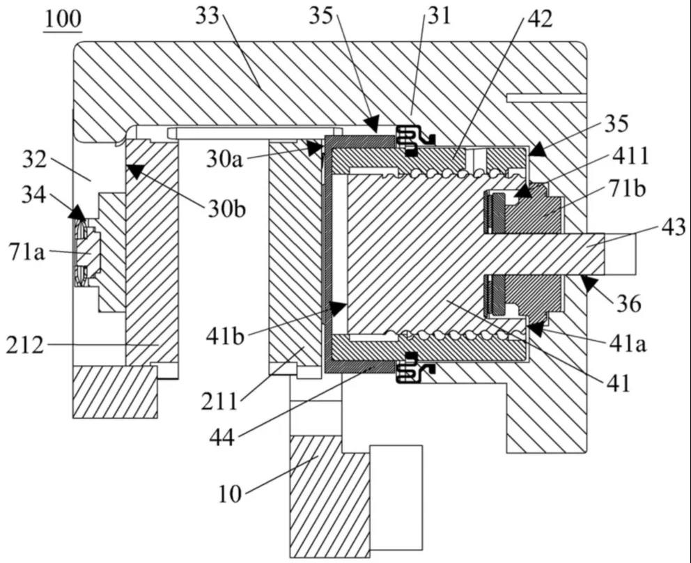
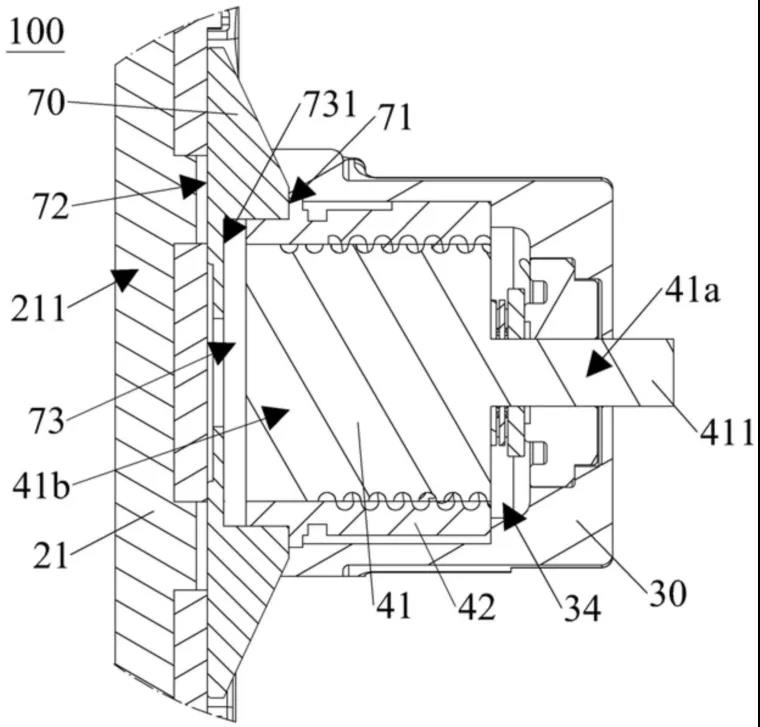
3.2 電子機械制動裝置和車輛_緊湊型設計
文件202410487214詳細介紹了一種電子機械制動裝置,主要涉及結構與工作原理。以下是重點內容的提取與詳細解析:
1. 系統組成
- 制動卡鉗和絲杠:制動卡鉗用于連接制動電機并容納絲杠,絲杠用于傳動連接制動電機,驅動摩擦片。
- 兩個摩擦片:分別安裝在制動卡鉗的兩個安裝面上,摩擦片用于與制動盤接觸產生摩擦力,進而實現制動。2. 工作原理
- 電機驅動:通過制動電機帶動絲杠旋轉,進而推動摩擦片相向或相背運動,實現與剎車盤的接觸或分離,產生或解除制動。
- 壓力傳感器:裝置內設有壓力傳感器,用于檢測摩擦片在制動過程中的壓力,并根據檢測結果調整制動電機的輸出,以確保制動力的精確控制。
3. 創新點
- 小型化設計:該裝置通過容納槽將壓力傳感器部分嵌入,減少了制動裝置的軸向尺寸,使其適應更狹小的輪邊空間,便于在緊湊型車輛上使用。
- 兩種壓力傳感器的應用:第一種壓力傳感器(量程較小): 用于零點檢測,即檢測摩擦片與剎車盤接觸前的初始壓力,以保證制動過程的可靠性。第二種壓力傳感器(量程較大): 用于檢測整個制動過程中的制動力,以便調整制動電機的輸出扭矩,保證制動效果。
4. 詳細部件解析
- 制動卡鉗:呈U形結構,分為第一鉗體和第二鉗體,分別位于剎車盤的兩側,并安裝兩個摩擦片,卡鉗通過連接部固定。
- 減速器:用于調整制動電機的轉速和扭矩,確保摩擦片能夠平穩有效地與制動盤接觸。
- 螺套與絲杠:絲杠通過旋轉推動螺套沿軸向滑動,從而驅動摩擦片與制動盤接觸或分離,實現制動控制。5. 應用前景
- 車輛:該電子機械制動裝置設計緊湊,適用于現代汽車的輪邊制動系統,尤其是在空間有限的電動車等新型車輛上具有廣泛的應用前景。
總體而言,這種電子機械制動裝置通過優化的結構設計和精確的壓力傳感器布局,顯著提高了制動系統的緊湊性和效率,適合于新型車輛對高效、節能制動系統的需求。
3.3 分流式電子機械制動裝置和車輛
根據文檔CN202410681141的內容,以下是對發明的詳細解析與重點提取:
1. 發明背景
- 領域:該發明涉及車輛技術領域,具體是電子機械制動裝置(EMB)。EMB 通過電機和機械結構配合實現制動,特點是結構簡單、反應靈敏、無液壓管路、小型化趨勢,傳遞效率高,適用于車輛輪邊空間。
2. 發明內容
- 核心:發明了一種分流式電子機械制動裝置,其通過分流凸起結構,使制動時摩擦片受力均勻,提升制動效率和裝置穩定性。
- 結構:該裝置包括制動電機、減速器、滾珠絲杠和分流活塞。滾珠絲杠一端連接減速器,另一端驅動分流活塞,通過分流凸起傳遞驅動力推動摩擦片,實現制動。
- 創新點:分流活塞設計成兩個端面,端面上設有分流凸起,能夠分流驅動力,優化摩擦片受壓情況,避免因受力不均導致制動性能下降。3. 具體技術細節
分流活塞:
- 分流凸起用于同時推動同一個摩擦片,增強其與剎車盤的接觸面積,提高制動效果。
滾珠絲杠:
- 通過減速器驅動,并與分流活塞相連,負責在制動時推動分流活塞產生滑動運動,最終實現制動。
4. 工作原理
- 制動時:滾珠絲杠通過減速器傳動,推動分流活塞,使摩擦片夾緊剎車盤產生摩擦,完成制動動作。
- 解除制動時:滾珠絲杠反向驅動分流活塞,使摩擦片遠離剎車盤,解除制動狀態。
5. 應用場景
- 車輛制動系統:該制動裝置可應用于多種車輛制動系統,通過提高制動效率和延長使用壽命,適用于現代高效能制動需求的汽車等。
該發明通過分流活塞的創新設計,顯著優化了傳統電子機械制動裝置的結構和性能,是一種高效、穩定的小型化制動系統,尤其適合應用在空間有限的車輛輪邊制動系統。
3.4 一種制動冗余控制的電機控制器及電子機械制動系統
文檔202410235108描述了一種新型電機控制器及其在電子機械制動系統中的應用,旨在提高電動車的制動可靠性和安全性。下面我將詳細解析文檔內容,并解釋其關鍵技術和優勢。
1. 技術背景
- 電子機械制動系統: 使用電機作為動力源,將剎車盤壓緊,產生制動力。相較于傳統的液壓制動系統,它具有響應速度快、控制精度高等優勢。
- 功能安全問題: 電子機械制動系統依賴于電信號傳輸,若出現故障(例如中央控制器或制動踏板傳感器失效),可能導致制動失靈,存在安全隱患。
2. 發明內容
(1)制動冗余控制的電機控制器
- 功能: 控制驅動電機輸出扭矩,接收制動踏板信號,連接中央控制器和輪端制動裝置。
- 冗余設計: 當中央控制器失效時,電機控制器可以根據制動踏板信號控制輪端制動裝置輸出制動力,避免制動失靈。
其他功能:
- 響應輪端制動裝置失效,通過驅動電機輸出負扭矩產生感應電流進行制動。
- 響應制動踏板信號和中央控制器同時失效,控制輪端制動裝置輸出固定制動力。
- 接收整車控制器的能量回收信號,控制驅動電機進行能量回收。
- 接收兩路制動踏板信號,提高制動控制的可靠性。
- 通過制動CAN網絡與輪端制動裝置和中央控制器通信,獲取狀態信息。
- 監測滑移率,控制驅動電機輸出負扭矩,避免車輪打滑。
(2)電子機械制動系統- 組成: 中央控制器、輪端制動裝置(包含輪端控制器和制動執行器)。
- 冗余設計: 當中央控制器失效時,輪端控制器可以根據電機控制器的指示控制制動執行器輸出制動力。
其他功能:
- 中央控制器可以接收制動踏板信號,控制輪端制動裝置輸出制動力。
- 中央控制器可以向電機控制器發送制動請求信號,控制驅動電機進行能量回收。
- 中央控制器可以控制輪端制動裝置輸出固定制動力,保證制動安全性。
3. 電動車輛- 組成: 動力電池、車輪、制動冗余控制的電機控制器、電子機械制動系統。
- 優勢: 具有更高的制動可靠性和安全性,同時實現能量回收,提高能量利用率。
技術優勢
- 提高制動可靠性: 通過冗余設計,即使部分部件失效,仍能保證制動系統正常工作。
- 提高制動安全性: 避免制動失靈,降低交通事故風險。
- 實現能量回收: 提高能量利用。


